Отправить заявку
в WhatsApp

Клапан обратный подъемный кованый API 602

Под заказ
Размеры, NPS: 1/2" - 24"
Размеры, DN: 15 - 600
Давление: Class 150 - 2500
Стандарт: API 602
  • Описание
  • Характеристики
  • Оплата и доставка

Подъемный обратный клапан (lift check valve) API 602 – кованый обратный подъемный клапан для трубопроводов малого диаметра, работающих под высоким давлением. Клапан предназначен для предотвращения обратного движения потока и обеспечения безопасной работы трубопроводной системы и оборудования.

Обратный клапан – тип трубопроводной арматуры прямого действия. Он регулирует направление потока автоматически, без какого-либо вмешательства извне: подпружиненный затвор в виде диска поднимается под напором подаваемой среды и опускается под собственным весом в совокупности с силой упругости пружины.

Поршневой обратный клапан, перемещающийся вверх и вниз, срабатывает при падении давления транспортируемой среды или повреждении участка трубопровода, не допуская гидроударов и нежелательного смешивания сред.

Особенности и преимущества клапана обратного подъемного API 602:

  • за счет отсутствия полостей и дефектов, вероятность которых не исключена в клапанах, изготовленных методом литья, кованый корпус, устойчив к растрескиванию под давлением, при динамических нагрузках и температурных перепадах;

  • компактность, возможность установки и удобство обслуживания в условиях ограниченного пространства;

  • полная блокировка потока при закрытии (нулевая утечка).

Варианты исполнения:

  • крышка на болтах или приварная;

  • концы резьбовые, фланцевые, приварные встык или враструб.

Материалы клапана обратного API 602

Корпус и крышка выполнены из нормализованной углеродистой стали A105N для высоких температур и давлений. Диск, седло и пружина изготовлены из нержавеющей стали, седло дополнительно покрыто твердым сплавом Stellite 6 на основе кобальта, устойчивым к износу и коррозии. Для уплотнения используется спирально-навитая прокладка из нержавеющей стали с графитовым уплотнителем.

Применение

Ключевые области: нефтегазовая, нефтехимическая, химическая промышленность, энергетика.

Подъемные обратные клапаны api 602 используются для обеспечения однонаправленного потока и защиты оборудования (насосов, компрессоров, котлов, теплообменников, реакторов) в системах транспортировки и распределения углеводородов, на линиях подачи химических реагентов, в системах охлаждения и нагрева, системах подачи пара.

Кованый запорный клапан API 602 – купить с доставкой в Казахстан

ЕМК QAZAQ выполняет поставки импортного металлопроката и трубопроводной арматуры напрямую от ведущих мировых производителей. У нас вы можете заказать и купить клапан обратный подъемный api 602 с оперативной доставкой в любой регион Казахстана.

Чтобы уточнить условия поставки и запросить расчет стоимости импортной ТПА, закажите звонок или оставьте заявку на сайте.

Рабочая температура От -60° до 500°
Материалы диска Углеродистая сталь, нержавеющая сталь, никель-алюминиевая бронза, легированная сталь и т.д.
Материалы седла Мягкое сидение
Материалы корпуса Углеродистая сталь, нержавеющая сталь, никель-алюминиевая бронза, легированная сталь и т.д.
Фланцевое сверление ASME B16.5, EN 1092-1, ГОСТ 33259, ASME B16.47
Стандарт испытания API 598, EN12266-1, ISO 5208
Сертификаты CE, EAC, SIL3, API 6FA, ISO 19001
Применение Нефть, химическое, природный газ, нефтехимическое, химический уголь

обратный подъемный кованый API 602.jpeg

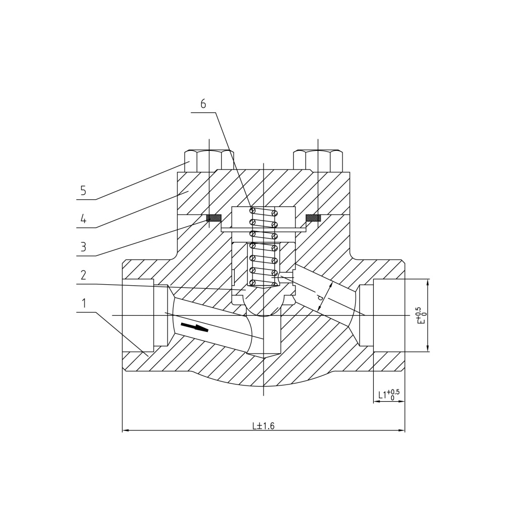
Наименование детали Материал
1 Корпус ASTM A105 (кованая углеродистая сталь) или ASTM A182 F316 (нержавеющая сталь)
2 Седло ASTM A182 F316 с наплавкой Stellite 6 для износостойкости
3 Диск ASTM A276 Type 410 или A182 F6a (нержавеющая сталь) с наплавкой Stellite 6
4 Шток ASTM A276 Type 316 (нержавеющая сталь) для коррозионной стойкости
5 Крышка корпуса ASTM A105 или ASTM A182 F316
6 Пружина Нержавеющая сталь (например, ASTM A313 Type 316) для устойчивости к коррозии

«ЕМК - QAZAQ» напрямую сотрудничает с производителями и гарантирует качество поставляемого проката и его соответствие нормам регламентирующего стандарта.

Мы рады предложить вам следующие условия оплаты вашего заказа:

  • предоплата. Полная оплата должна быть завершена до начала производства/поставки;

  • оплата по факту поставки: Сумма заказа должна быть оплачена в течение определенного срока, заключенного в договоре между двумя сторонами, после фактической поставки товаров/оказания услуг;

  • отсроченная оплата. Мы предоставляем вам возможность отсрочки оплаты на срок, заключенный в договоре между двумя сторонами, после даты выставления счета;

  • аккредитив. Мы готовы принять оплату через банковский аккредитив по условиям, согласованным сторонами.

На сегодняшний день наша компания реализует следующие способы транспортировки:

  • автоперевозки (тентованные фуры, негабаритные платформы, телескопические платформы, трубовоз, пирамиды);

  • железнодорожная доставка (контейнеры 20’,40’,45’ DC, HQ, платформы для негабаритных по ширине и длине грузов, вагоны разных типов;

  • морские перевозки (контейнеры 20’,40’,45’ DC, HQ, OT, балком на судне);
  • авиаперелеты. Доставка регулярными и чартерными рейсами (генеральные, попутные, сборные отправки).

Преимущества нашей логистики

  • Отгрузка металлопроката круглый год вне зависимости от погодных условий
  • Защита материалов от воздействиям окружающей среды
  • Удобное расположение складов и мест хранения
  • Получите коммерческое предложение со стоимостью и сроками

    Звоните +7 (727) 339-57-48 или оставьте заявку и мы перезвоним Вам!

    Коммерческое предложение

    Заказать звонок

    Укажите свой контактный телефон, и мы перезвоним вам!

    Отправить заявку
    Прикрепить свои файлы